- 产地:
- 进口
- 型号:
- GP3
产品描述:
* GP3 是一个可以移动的系统,该系统包含真空泵、冷阱和多歧管。
* 多岐管已经被巧妙地安装在推车上,使用者可以使用四个接头中的任意一个进行工作,也可以同时工作。
* 系统带 NW 16 法兰接口的真空表。拆掉真空表,您也可以连接数字式真空计
* GP3 真空系统
带盖子的18 CAL-S 杜瓦瓶。
冷阱有效工作能力:2000ml
冷阱冷凝能力:zei大250ml
带真空表,订货号17530
* 可选其他套装:带一个大体积冷阱,或者两个带GKF 一体式冷阱等
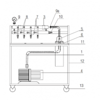
GP3 真空系统结构说明
1、橡胶真空管,带NW 16 的法兰接口
2、橡胶真空管,用于10mm olives 接头
3、真空系统玻璃单元的支撑架
4、真空泵(单独选配)
5、KFL 29-GL 冷阱
6、杜瓦瓶
7、带真空阀门的真空多岐管
8、玻璃真空阀,带O 型圈密封和带10mmPTFE Olive 接头的GL18 螺纹接口,用于6mm 管路和接口阀
9、带真空法兰的真空表
9a、带10mm olive 的NW16 法兰接头
10、真空气路连接,GL 18 的玻璃螺纹,带10mmPTFE Olive 接头
11、PE 工作台面
12、铝型材支架
13、可锁死滚轮
Chemtron GP3 真空管系统由优莱博技术(北京)有限公司 为您提供,如您想了解更多关于Chemtron GP3 真空管系统报价、参数等信息 ,欢迎来电或留言咨询。

















第1年



ChemTron CR-300高压反应釜
ChemTron GT 超零级空气发生器
ChemTron P8000 系列旋光仪
JULABO CORIO CD-1000F加热制冷浴槽
JULABO F34-HL专业型加热制冷浴槽 /
ChemTron NM300氢气发生器
JULABO FP55-SL专业型加热制冷循环
ChemTron 奥氏粘度管
ChemTron STRIKE 385 M7干冰冷凝型
ChemTron Vdose 2400液体注射泵 /

鲁公网安备37021402001368号